王健林,突传消息!
王健林又有新消息,涉及股权出质。
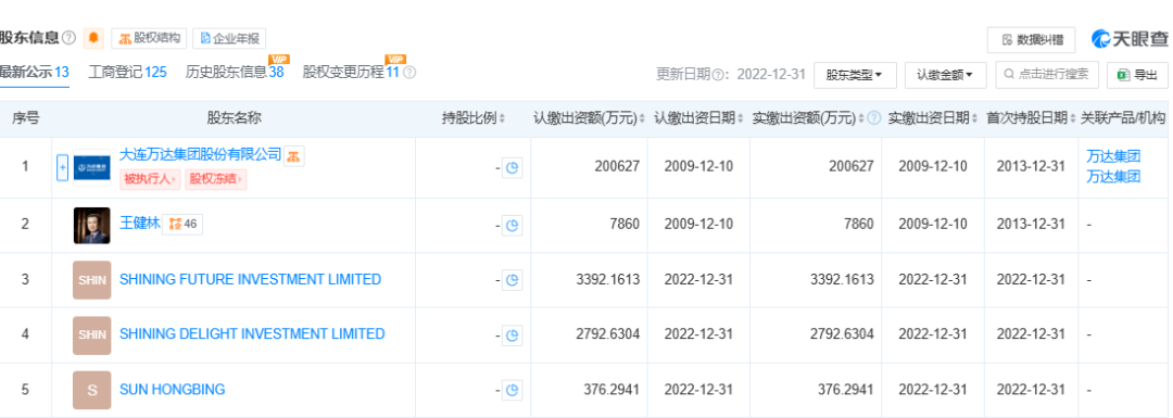
天眼查显示,近日,王健林新增1条股权出质信息,出质股权标的企业为大连万达集团股份有限公司(简称“万达集团”),质权人为珠海万赢企业管理有限公司,出质股权数额为240万股。

股权穿透显示,珠海万赢企业管理有限公司为大连万达商业管理集团股份有限公司(简称“万达商管”)的全资孙公司,而万达商管由万达集团、王健林、SHINING FUTURE INVESTMENT LIMITED等共同持股。

此外,万达集团还存在多条股权冻结和股权出质信息,涉及万达商管、万达集团等公司的股权。
万达商管已退出多家万达广场公司
值得注意的是,天眼查App显示,1月10日,铜陵万达广场投资有限公司、宣城万达广场投资有限公司发生工商变更,原股东大连万达商业管理集团股份有限公司退出,新增坤华(天津)股权投资合伙企业(有限合伙)(简称“坤华股权投资”)为全资股东。
据了解,坤华股权投资背后的主要出资人是新华保险。公开数据显示,坤华股权投资成立于2023年12月,由新华保险与中金资本共同设立。这只不动产私募股权基金的规模为100亿元,新华保险作为有限合伙人认购99.99亿元,中金资本作为普通合伙人认购100万元。中金资本负责基金的投资、管理及运营。过去一年,坤华股权投资已接盘多家万达广场。
据《证券时报》报道,在业内人士看来,为缓解压力,王健林只能延续“卖卖卖”的模式。为了应对企业债务问题,出售资产无疑是万达回笼资金最直接、最迅速的方式。尽管万达集团出售资产有断臂求生的无奈,但加速向轻资产转型或是万达集团的既定战略。

背后合作模式揭秘
在这些项目中,双方采用何种合作模式?
据《经济观察报》报道,一位工作于赤峰松山万达广场的工作人员表示,该公司易主之后,除部分核心管理层人士发生变化外,万达广场的经营并未发生变化,依然由万达商管在运营。
一位接近相关万达广场项目合作的保险资管从业人士表示,险资作为出资人聘请专业机构成立投资基金,专业机构为基金管理人。在交易完成后,资产管理方如万达商管继续运营底层资产。该人士称,个别交易会引入新的运营方作为共同投资人来参与。
上述保险资管从业人士表示,在行业下行周期,相比住宅开发项目、地产股这类投资标的,持有型商办资产具备更高的安全边际和长期投资价值。但市场上优质的项目并不好找,保险公司的目光从商业办公楼向商办综合体转移。由于负债刚性,保险出资人会对供求关系、出租率、租约稳定情况有着更高的要求。除了商办综合体,险资对物流仓储、工业产业园的投资也在增加。
在许多业内人士看来,优质商业资产仍有较大发展潜力。中指研究院认为,商业地产投资方更加聚焦消费市场活跃、经济基础较好的核心一二线城市商业。一线城市购物中心存量规模已较大,2023年末城镇人均购物中心面积达1.01平方米,未来存量项目的竞争将更加激烈;二线城市城镇人均购物中心面积为0.89平方米,接近一线城市水平,未来或呈现存量与增量并行发展的格局。
(声明:文章内容仅供参考,不构成投资建议。投资者据此操作,风险自担。)
来源丨21财经客户端、天眼查、证券时报、经济观察报、公开信息
标签: 王健
长沙SEO外包网站,助力企业提升网站排名,抢占互联网市场先机,长沙SEO外包服务,专业助力企业网站排名,抢占网络市场风口
下一篇如何通过网站备案查询权重,掌握网站备案查询权重的详细步骤,简单易懂,让你快速提升SEO水平,详解网站备案查询权重的步骤与方法
相关文章
-
钛快讯王健林详细阅读
好,用户让我写一篇关于“钛快讯王健林”的文章,标题和内容都要写,我需要明确用户的需求,关键词是“钛快讯王健林”,看起来是关于王健林最近的新闻,可能涉及...
2025-12-05 45 王健
-
新华保险持续接盘王健林名下资产 已收购11家万达广场详细阅读
王健林继续旗下资产的出售计划,而新华保险也没有停下收购的脚步。 1月17日,据天眼查披露的信息,近期宣城万达广场投资有限公司和铜陵万达广场投资...
2025-01-17 105 王健
-
事涉50.41亿元!王健林,突传消息!详细阅读
炒股就看金麒麟分析师研报,权威,专业,及时,全面,助您挖掘潜力主题机会! 作为知名商业地产开发商,万达集团的一举一动备受关注。 10月22日晚间,...
2024-10-23 150 王健
-
事关王健林 新消息!详细阅读
10月22日晚间,ST易购(002024)公告,近日公司收到中国国际经济贸易仲裁委员会受理通知,公司所提出的仲裁请求已获受理。目前尚未开庭审理。...
2024-10-23 142 王健
-
王健林“换将”,万达商管新董事长“接棒”1400亿债务!详细阅读
炒股就看金麒麟分析师研报,权威,专业,及时,全面,助您挖掘潜力主题机会! 来源:野马财经 万达还有“新故事”讲吗? 在连卖万达广场、又...
2024-10-21 145 王健
-
王健林再卖资产!新华保险接手成都万达详细阅读
王健林大甩卖,新华保险又接手了。 天眼查显示,成都万达商业广场投资有限公司发生工商变更,原股东大连万达商业管理集团股份有限公司退出,新增坤华(...
2024-10-18 150 王健
