英伟达AR眼镜专利公示:无背光驾驭户外场景,更轻、更亮、更清晰
IT之家 1 月 4 日消息,根据美国商标和专利局 1 月 2 日公示的公告,英伟达公司获批一项《无背光增强现实数字全息术》专利,有望革新 AR 眼镜领域。

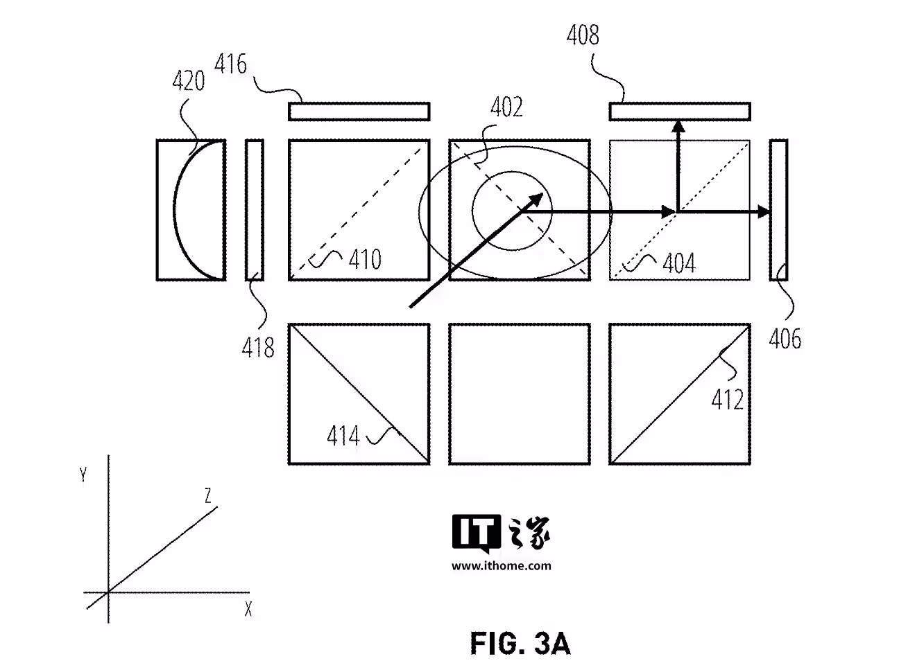
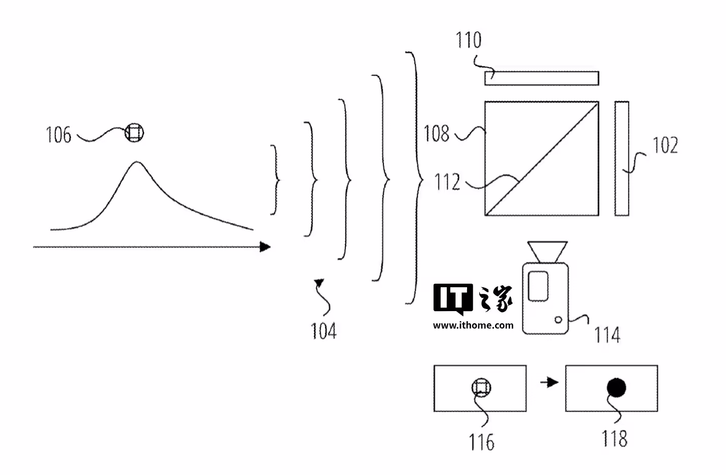
该专利技术摒弃了传统的背光系统,采用数字全息和环境光干涉技术,并通过基于深度学习的神经网络控制系统以及双视点立体显示,显著提升了户外显示效果,提升沉浸式体验。该专利中还介绍了智能阴影技术,通过选择性遮挡 AR 内容,保留其他区域的自然视觉。IT之家附上相关截图如下:


英伟达在专利中,通过整合上述系统和技术,不仅显著降低了 AR 眼镜的功耗,还实现了更轻便的设计,并带来了卓越的户外性能和更自然的视觉体验,有望重塑 AR 眼镜的未来。这项专利技术不仅解决了户外显示的难题,还提升了用户体验,为 AR 技术的普及应用奠定了基础。
广告声明:文内含有的对外跳转链接(包括不限于超链接、二维码、口令等形式),用于传递更多信息,节省甄选时间,结果仅供参考,IT之家所有文章均包含本声明。
标签: 伟达
构建高质量的高权重网站域名采集系统,创建高效、优质高权重网站域名采集系统
下一篇浅析网站域名权重排名的内在规律及其影响因素,理解网站域名权重排名,内在规律与影响因素探讨,理解网站域名权重排名,内在规律及其影响因素探讨
相关文章
-
英伟达将向OpenAI投资1000亿美元详细阅读
英伟达公司表示,将向OpenAI投资至多1000亿美元,用于支持新数据中心及相关基础设施的建设,以承载人工智能工作负载。 英伟达在周一的一份声...
2025-09-23 84 伟达
-
英特尔最大难题未因英伟达50亿美元入股而化解详细阅读
英伟达(NVDA)宣布将斥资50亿美元入股英特尔(INTC)的决定或许令投资者欢欣鼓舞,后者股价周四一度飙升30%。但这项投资对解决英特尔最大难题...
2025-09-20 102 伟达
-
英伟达出手,英特尔大涨超26%详细阅读
9月18日晚间,英特尔美股盘前短线拉升涨超26%。消息面上,英伟达与英特尔宣布建立合作关系:英伟达将投资50亿美元于英特尔,每股价格为23.28美...
2025-09-18 89 伟达
-
英伟达营收展望不温不火 引发人工智能支出放缓之忧详细阅读
专题:英伟达Q2数据中心收入不及市场预期 本季度营收指引不够亮眼 全球市值最高的上市公司英伟达对当前季度的收入预测不温不火,这令人们担忧巨幅增长...
2025-08-28 90 伟达
-
期权交易透露市场情绪:英伟达财报预计带来6.5%的股价波动详细阅读
财联社8月26日讯(编辑 马兰)英伟达将在周三美股收盘后公布其业绩,期权交易员预计这份财报将为英伟达市值带来高达2880亿美元的波动。 根据期权定价,...
2025-08-27 85 伟达
-
期权数据显示:英伟达财报发布后股价或波动6%详细阅读
专题:聚焦2025年第二季度美股财报 美国期权市场数据显示,芯片制造商英伟达(Nvidia)定于周三发布第二季度财报,期权交易员预计,财报公布...
2025-08-27 97 伟达
